完成了卡券分类的创建,我们就需要生成卡券数据了,进入后台管理面板,点击左侧菜单“卡券”>“卡券管理”,在这里我们能看到我们创建好的卡券分类列表。
选择其中一个卡券分类,我们点击“批量添加提货码”。


- 前缀:卡券号的固定部分,通常是按卡面价值作为前缀,也可以用寓意好听的数字作为前缀,666、888之类;
- 起始数字:卡券号的序号部分,0001、0002、0003,最终生成的提货卡号就是前缀 + 起始数字
- 排除数字:排除掉不需要的卡号
- 密码格式:密码的格式内容,可以选择纯数字密码,也可以字母和数字混合生成密码(考虑到实际印刷情况,建议使用纯数字,因为喷码里面的个别字母和数字是很难分清的,例如字母“o”和数字“0”,实际喷码出来很难区分);
- 提货密码位数:生成的密码位数,默认6位,也可以设置8位、10位;
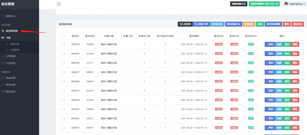
- 总提货次数:设置1代表这个卡券只能使用1次,设置2就代表可以使用2次,根据实际业务需求设置;
- 每次提货产品数:设置可以兑换的产品数量;
- 提货码生成数量:需要制作多少张实体卡就填写多少;

- 提货期限:设置卡券的提货开始时间和结束时间;
- 提货状态:默认为未提货;
- 激活状态:默认为未激活,发行的卡券需要在提货码列表里面激活以后,终端客户才能使用;
- 提货码状态:默认为正常;
完成上述设置以后,点击“确认添加”,系统会自动生成卡券数据。
单次批量添加的卡券数量建议控制在5000个以内,数量太多系统会比较缓慢。
生成的卡券数据,我们可以点击左侧菜单“提货码列表”里面查看详细数据。

